
金湖县华升计量仪器有限公司
联系人:陈经理
电 话:0517-86994588
客 服:13915185455
客 服:15152325949
邮 箱:service@hs-0.com

任何类型的仪表都有其安装功能,智能旋转涡街流量计也不例外。为使这种仪器更好地为流量计量工作服务,金湖县华升计量仪器有限公司技术服务人员多年的实践经验表明,以下事项应得到相关管理部门的充分重视。使用部门。
1、注意仪器的选择。在选择了仪器类型的情况下(例如,智能螺旋涡街流量计),选择仪器规格及其组件至关重要。总之,如果您选择它,您可以使用它。为此,应在选拔过程中把握两个基本原则;也就是说,必须确保使用的准确性,另一方面必须确保生产安全。为此,有必要实施三个选择参数,即近期和长期的最大,最小和常见瞬时流量(主要用于所选仪器的尺寸)和被测介质的设计压力(主要是用于所选仪器的标称压力水平)和工作压力(主要用于选择仪器压力传感器的压力水平)。
2、执行预校准。一方面,考虑到目前对此类工具的现场核查,仍然存在这些困难。此外,如果是购买的话该图还旨在将仪器应用于更重要的测量场合,例如大量交易测量或测量争议的测量点,以及现场校准条件的使用,那么在这种情况下判断还为时尚早。手表的所有性能均由制造商在购买时提供的单因素工厂证书进行限定。因此,为了确保仪器在未来工作中的测量结果的可靠性和准确性,有必要将其发送到具有此方面的验证能力和资格的部门,以便在全流量范围内进行系统验证。正式安装。
3、做好工艺安装。虽然这种类型的仪器对过程安装和使用环境没有太多特殊要求,但任何类型的流量测量仪器都具有这样的共性,即尽可能避免振动和高温环境中的流动扰动组件(如压缩机,分离器,调压阀,尺寸头和歧管,弯头等),保持仪器前后直管段内壁光滑平直,确保被测介质干净整洁相流体。
4、加强岗位管理。虽然这种仪器具有许多自动处理功能和微功耗特性,但投入运行后仍需加强。例如,为了确保仪器的长期工作准确性,可靠性(避免意外中断和数据丢失),定期系统校准(每1至2年),标题数据的转录(每日或每周),更换媒体参数(每月或每季)并偶尔检查电池状态,检查仪表系数和密封。
5、注意内部维护。如果由于气质或其他原因需要定期检查或清洁测量室及其组件,则必须特别注意:对于相同尺寸的螺旋涡街流量计,涡流发生器,流体导向器等。组件不可互换。否则,必须重新校准计量系数,并且必须系统地校准与其相关的温度和压力传感器。
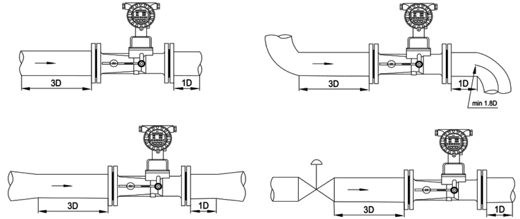
旋进漩涡流量计的安装要求
1.流量计应根据流向标记安装。
2.流量计可水平,垂直或以任何角度安装。
3.上游和下游直管要求如图1所示。
4.除了含有较大颗粒或较长纤维杂质外,被测介质通常不需要安装过滤器。
5.流量计周围不应有强烈的外部磁场干扰和强烈的机械振动。
6.流量计必须可靠接地。
